Доставка цветов в Севастополе: SevCvety.ru
Главная -> Расчеты зубчатых передач

0 1 2 3 4 5 6 7 8 9 10 11 12 13 [14] 15 16 17 18 19 20 21 22 23 24 25 26 27 28 29 30 31 32 33 34 35 36 37 38 39 40 41 42 43 44 45 46 47 48 49 50 51 52 53 54 55 56 57 58 59 60 61 62 63 64 65 66 67 68 69 70 71 72 73 74 75 76 77 78 79 80 81 82 83 84 85 86 87 88 89 90 91 92 93 94 95 96 97 98 99 100 101 102 103 104 105 106 107 108 109 110 111

мают значения штамповочных уклонов у 7° и радиусов закруглений 6 мм.

Для уменьшения влияния термической обработки зубчатых колес на точность геометрической формы, в последнее время зубчатые колеса делают массивными: С=(0,35. ..0,4)6з.

fx45 fxK


Рис. 4.3



t>ct

Условия пластической деформации металла при штамповке улучшаются, если выемки в дисках колес выполнять по рис. 4.3, а, б. Радиусы закруглений принимают R20 мм, а штамповочные уклоны у 12°. В зависимости от соотношения размеров колес выемки в

дисках оформляют одной дугой радиуса R (рис. 4.3, а) или двумя дугами радиуса R и плоскостью (рис. 4.3, б). Толщина диска в этом случае С « 0,5 &2.

В тех случаях, когда важно снижение массы конструкции (например, самолетостроение), колеса делают с более тонким диском (С»0,25 Ьг), радиусы закруглений принимают минимальными, в дисках выполняют 4. . .6 отверстий. Для быстроходных колес после механической обработки проводят балансировку. С этой целью иногда производят механическую обработку кругом, как показано на рис. 4.2, а.

Таблица 4.2


т, мм

Рис. 4.4

Шевронные зубчатые колеса отличаются от других цилиндрических колес большей шириной. Наиболее часто шевронные колеса изготовляют с канавкой посередине, предназначенной для выхода червячной фрезы, нарезающей зубья. При известных размерах фрезы ширину канавки а определяют прочерчиванием. Приближенно размер канавки а можно определить по приводимому в табл. 4.2 отношению aim.

Остальные конструктивные элементы шевронных колес принимают по соотношениям (рис. 4.4): /„=&+а; С= (0,3. . .0,35) (&+а); 8= =4от+2; /1=2,5от.

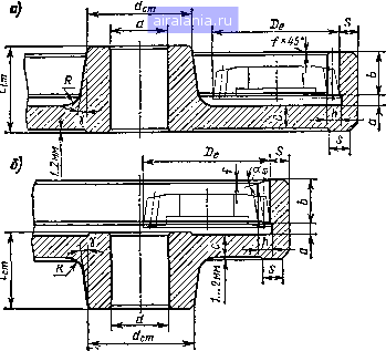
§ 2. ЦИЛИНДРИЧЕСКИЕ ЗУБЧАТЫЕ КОЛЕСА ВНУТРЕННЕГО ЗАЦЕПЛЕНИЯ

Основные конструктивные элементы i, Z, S, f (рис. 4.5, a, б) в колесах внутреннего зацепления принимают по соотношениям для колес внешнего зацепления, которые приведены на с. 44. Конструктивное исполнение колес внутреннего зацепления может быть выполнено по одному из вариантов, показанных на рис. 4.5 и отличающихся расположением ступицы относительно зубчатого венца: ступица расположена внутри колеса (рис. 4.5, а), что обеспечивает лучшие условия работы зацепления по сравнению с вариантом по рис. 4.5, б, в котором ступица вынесена за контур зубчатого венца. Но первый вариант



(рис. 4.5, а) можно применять в том случае, когда расстояние от наружной поверхности ступицы до внутренней поверхности зубчатого венца больше наружного диаметра De долбяка, которым изготовляют


Рис. 4.5

зубья. Контур долбяка показан на рис. 4.5, а, б. В табл. 4.3 приведены диаметры De долбяка, ширина а канавки для выхода долбяка и размещения стружки, образующейся при долблении зубьев (для прямозубых колес).

Таблица 4.3

1,75

2,25

2,75

Ширину а канавки в косозубых колесах внутреннего зацепления увеличивают на 30. . .40%. Глубину канавки во всех случаях принимают /1=2,5/га. Толщина диска С« (1, 2. . .1,5) S.



0 1 2 3 4 5 6 7 8 9 10 11 12 13 [14] 15 16 17 18 19 20 21 22 23 24 25 26 27 28 29 30 31 32 33 34 35 36 37 38 39 40 41 42 43 44 45 46 47 48 49 50 51 52 53 54 55 56 57 58 59 60 61 62 63 64 65 66 67 68 69 70 71 72 73 74 75 76 77 78 79 80 81 82 83 84 85 86 87 88 89 90 91 92 93 94 95 96 97 98 99 100 101 102 103 104 105 106 107 108 109 110 111



0.0125
Яндекс.Метрика